Description
C.A. Technologies 2.5 Gallon Non-ASME Air Agitated Bottom Outlet Pressure Tank Parts Manual (51-213 / 51-214 / 51-215)
C.A. Technologies 2.5 Gallon Non-ASME Air Agitated Bottom Outlet Pressure Tank Parts Manual (51-213 / 51-214 / 51-215)
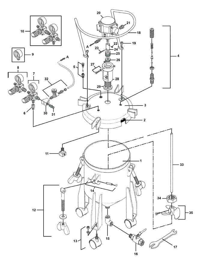
This page provides the official parts manual for the C.A. Technologies 2.5 Gallon Non-ASME Air Agitated Bottom Outlet Pressure Tank. This tank features a bottom outlet ball valve, air powered agitator, four caster wheels, and is available in non-regulated, single regulated, and double regulated configurations. Use this manual to view the parts diagram, confirm part numbers, and click through to order genuine replacement parts from CET.
Models Covered: 51-215 (Non-Regulated, Air Agitated) • 51-213 (Single Regulated, Air Agitated) • 51-214 (Double Regulated, Air Agitated)
Note: Single regulated models are supplied with item 7 (Fluid Regulator Assembly). Double regulated models are supplied with items 7 & 8 (Fluid and Atomizing Air Regulator Assemblies). One 98-0383 and one 53-555 are needed to adapt a standard 3/8" fluid hose fitting to the bottom outlet ball valve.
Download the PDF Parts Manual
Important Safety Note (Non-ASME Requirement)
Flammable Materials Warning: If this pressure tank is used for spraying flammable materials, the operator must not pressurize the tank more than 15 PSI to meet OSHA requirements for non-ASME pressure vessels.
- Max tank pressure: 80 PSI. Do not adjust the safety relief valve. If it vents air, reduce the air inlet regulator setting.
- Do not alter the tank by welding, drilling, or machining.
- Always ground the tank with a 12 ga. wire to a known earth ground to prevent static sparks.
- Relieve tank pressure completely before removing the cover or material fill cap. Shut off air supply and vent pressure using the vent valve on the tank lid.
- Oilless motor: DO NOT OIL TANK MOTORS. The air motor used on CAT agitated tanks is oilless.
Order Replacement Parts (Click Part Numbers)
Below are all parts listed in the manual. Click any part number to open the matching product page on CET Store. Only part numbers with verified embedded PDF hyperlinks are linked below.
| Item | Part No. | Description |
|---|---|---|
| 1 | 51-278 | Tank Shell |
| 2 | 51-220 | Gasket (51-220-3 = 3 Pack) |
| 3 | 51-279 | Tank Lid Assembly |
| 4 | 51-229 | Safety Relief Valve Assembly |
| 5 | 51-234 | Tank Vent Valve |
| 6 | 51-280 | Swivel Connection |
| 7 | 52-10A | Fluid Regulator Assembly (Single & Double Reg models) |
| 8 | 52-11A | Atomizing Air Regulator Assembly (Double Reg models only) |
| 9 | 52-58 | Pressure Gauge |
| 10 | 52-303 | Dual Regulator Assembly |
| 11 | 51-237 | Air Flow Diffuser |
| 12 | 51-236 | Eye Bolt Assembly |
| 13 | 51-224 | Caster (4 Req'd) |
| 13 | 51-252 | Optional Stationary Feet (4 Req'd) |
| 14 | 51-233 | Pin Assembly |
| 15 | 51-275 | Fluid Outlet Elbow |
| 16 | 51-274 | Fluid Outlet Ball Valve |
| 17 | 51-225 | Wrench |
| 18 | 51-238 | Guard |
| 19 | 98-0115 | Nut 3/8-16 |
| 20 | 51-240 | Air Motor |
| 21 | 51-271 | Muffler |
| 22 | 51-262 | Set Screw 1/4-20 x 1" lg. |
| 23 | 51-266 | Roll Pin |
| 24 | 51-242 | Coupling |
| 25 | 51-288 | Guide |
| 26 | 51-289 | Shaft Seal Assembly |
| 27 | 51-264 | Screw & Nut 1/4-20 x 1/4 lg. |
| 28 | 51-287 | Air Motor Base |
| 29 | 51-245 | Seal Ring |
| 30 | 51-272 | 3-Way Union |
| 31 | 51-239 | Double Male Nipple |
| 32 | 51-247 | Speed Valve Control Assembly |
| 33 | 51-276 | Agitator Shaft |
| 34 | 51-259 | Retaining Nut |
| 35 | 51-246 | Propeller W/Bolt |
Related Bottom Outlet Pressure Tank Manuals
2.5 Gallon
- 51-210 — 2.5 Gallon Bottom Outlet Tank (No Reg, No Agitation)
- 51-211 — 2.5 Gallon Bottom Outlet Tank (Single Reg, No Agitation)
- 51-212 — 2.5 Gallon Bottom Outlet Tank (Double Reg, No Agitation)
- 51-213 — 2.5 Gallon Bottom Outlet Tank (Single Reg, Air Agitated)
- 51-214 — 2.5 Gallon Bottom Outlet Tank (Double Reg, Air Agitated)
5 Gallon
- 51-510 — 5 Gallon Bottom Outlet Tank (No Reg, No Agitation)
- 51-511 — 5 Gallon Bottom Outlet Tank (Single Reg, No Agitation)
- 51-512 — 5 Gallon Bottom Outlet Tank (Double Reg, No Agitation)
- 51-513 — 5 Gallon Bottom Outlet Tank (No Reg, Air Agitated)
- 51-514 — 5 Gallon Bottom Outlet Tank (Single Reg, Air Agitated)
- 51-515 — 5 Gallon Bottom Outlet Tank (Double Reg, Air Agitated)
10 Gallon
- 51-560 — 10 Gallon Bottom Outlet Tank (No Reg, No Agitation)
- 51-561 — 10 Gallon Bottom Outlet Tank (Single Reg, No Agitation)
- 51-562 — 10 Gallon Bottom Outlet Tank (Double Reg, No Agitation)
- 51-563 — 10 Gallon Bottom Outlet Tank (No Reg, Air Agitated)
- 51-564 — 10 Gallon Bottom Outlet Tank (Single Reg, Air Agitated)
- 51-565 — 10 Gallon Bottom Outlet Tank (Double Reg, Air Agitated)
Need Help Identifying a Part?
If you're unsure which part you need for your 51-213, 51-214, or 51-215 tank, contact CET with your model number and item number from the diagram. We'll help confirm compatibility before you order.
