Description
C.A. Technologies 2.5 Gallon Non-ASME Non-Agitated Pressure Tank Parts Manual (51-201 / 51-202 / 51-202-SS / 51-207)
This page provides the official parts manual for the C.A. Technologies 2.5 Gallon (Non-ASME) Non-Agitated Pressure Tank. Use this manual to view the parts diagram, confirm part numbers, and click through to order genuine replacement parts from CET.
Models Covered: 51-201 (Single Regulated) • 51-202 (Double Regulated) • 51-202-SS (Double Regulated, Stainless Steel Fitted) • 51-207 (Double Regulated, Inline Regulators)
Note: Stainless steel fitted tanks include stainless steel outlet fittings and a stainless steel pickup tube.
Download the PDF Parts Manual
Important Safety Note (Non-ASME Requirement)
Flammable Materials Warning: If this pressure tank is used for spraying flammable materials, the operator must not pressurize the tank more than 15 PSI to meet OSHA requirements for non-ASME pressure vessels.
- Max tank pressure: 80 PSI. Do not adjust the safety relief valve. If it vents air, reduce the air inlet regulator setting.
- Do not alter the tank by welding, drilling, or machining.
- Always ground the tank with a 12 ga. wire to a known earth ground to prevent static sparks.
- Relieve tank pressure completely before removing the cover or material fill cap. Shut off air supply and vent pressure using the vent valve on the lid.
Shop These Tank Configurations
- 51-201 — 2.5 Gallon Pressure Tank (Single Regulated)
- 51-202 — 2.5 Gallon Pressure Tank (Double Regulated)
- 51-202-SS — 2.5 Gallon Pressure Tank (Stainless Steel Fitted)
- 51-207 — 2.5 Gallon Pressure Tank (Inline Regulators)
Order Replacement Parts (Click Part Numbers)
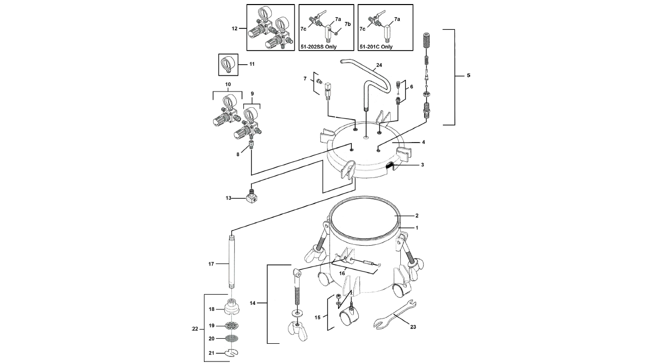
Below are the parts listed in the manual. Click any part number to open the matching product page on CET Store.
| Item | Part Number | Description |
|---|---|---|
| 1 | 51-226 | Tank Shell |
| — | 51-261 | Disposable Rigid Liners (12 or 60 pk) |
| — | 51-231 | Disposable Bag Liners (10 pk) |
| — | 51-227 | Stainless Steel Tank Liner |
| 3 | 51-220 | Gasket |
| 4 | 51-228 | Tank Lid Assembly |
| 5 | 51-229 | Safety Relief Valve Assembly |
| 6 | 51-234 | Tank Vent Valve |
| 7 | 51-230 | Material Outlet Valve |
| 8 | 51-280 | Swivel Connection |
| 9 | 52-10A | Fluid Regulator Assembly |
| 10 | 52-11A | Atomizing Air Regulator Assembly |
| 11 | 52-58 | Pressure Gauge |
| 12 | 52-303 | Dual Regulator Assembly |
| 13 | 51-237 | Air Flow Diffuser |
| 14 | 51-236 | Eye Bolt Assembly |
| 15 | 51-224 | Caster (4 Req'd) |
| — | 51-252 | Optional Stationary Feet (4 Req'd) |
| 16 | 51-233 | Pin Assembly |
| 17 | 51-223 | Fluid Pickup Tube |
| 18 | 51-256 | Inlet Strainer Body |
| 19 | 51-254 | Inlet Screen Backup Plate |
| 20 | 51-248 | Inlet Screen |
| 21 | 51-255 | Inlet Retainer Clip |
| 22 | 51-232 | Inlet Strainer Assembly |
| 23 | 51-225 | Wrench |
| 24 | 51-235 | Handle |
| Inline | 52-7 | Inline Fluid Regulator Assembly (51-207) |
| Inline | 52-8 | Inline Air Regulator Assembly (51-207) |
| Inline | 52-302 | Inline Dual Regulator Assembly (51-207) |
| SS | 51-230SS | Material Outlet Valve (Stainless Steel Fitted) |
| SS | 98-0261 | Plug (Stainless Steel Fitted) |
| SS | 51-223SS | Fluid Pickup Tube (Stainless Steel Fitted) |
| SS | 52-151SS | SS Ball Valve (Stainless Steel Fitted) |
| Std | 52-151 | Ball Valve |
Regulator note: Single regulated tanks are supplied with the fluid regulator; double regulated tanks are supplied with both fluid and air regulator assemblies.
Related Pressure Tank Manuals
- 2.5 Gallon Pressure Tank w/ Air Powered Agitation (Double Regulated)
- 2.5 Gallon Pressure Tank w/ Air Powered Agitation (Single Regulated)
- 5 Gallon Pressure Tank (No Agitation)
- 10 Gallon Pressure Tank (No Agitation)
Need Help Identifying a Part?
If you’re unsure which part you need for your 51-201 / 51-202 / 51-202-SS / 51-207 tank, contact CET with your model number and a brief description of the issue. We’ll help confirm compatibility before you order.
