Description
C.A. Technologies 2.5 Gallon SS Non-ASME Stainless Steel Non-Agitated Pressure Tank Parts Manual (51-801 / 51-802)
This page provides the official parts manual for the C.A. Technologies 2.5 Gallon SS (Non-ASME) Stainless Steel Non-Agitated Pressure Tank. Use this manual to view the parts diagram, confirm part numbers, and click through to order genuine replacement parts from CET.
Models Covered: 51-801 (All Stainless Steel, Single Regulated) • 51-802 (All Stainless Steel, Double Regulated)
Note: This is an all-stainless 2.5 gallon tank. Use the parts list below to match item numbers to replacement parts.
Download the PDF Parts Manual
Important Safety Note (Non-ASME Requirement)
Flammable Materials Warning: If this pressure tank is used for spraying flammable materials, the operator must not pressurize the tank more than 15 PSI to meet OSHA requirements for non-ASME pressure vessels.
- Max tank pressure: 80 PSI. Do not adjust the safety relief valve. If it vents air, reduce the air inlet regulator setting.
- Do not alter the tank by welding, drilling, or machining.
- Always ground the tank with a 12 ga. wire to a known earth ground to prevent static sparks.
- Relieve tank pressure completely before removing the cover or material fill cap. Shut off air supply and vent pressure using the vent valve on the lid.
Shop These Tank Configurations
- 51-801 — 2.5 Gallon All Stainless Steel Pressure Tank (Single Regulated)
- 51-802 — 2.5 Gallon All Stainless Steel Pressure Tank (Double Regulated)
Order Replacement Parts (Click Part Numbers)
Below are the parts listed in the manual. Click any part number to open the matching product page on CET Store.
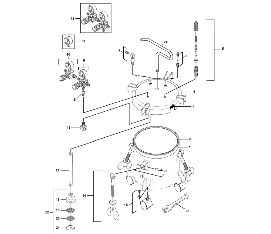
| Item | Part Number | Description |
|---|---|---|
| 1 | 51-226SS | Tank Shell |
| — | 51-261 | Disposable Rigid Liners (12 pack) |
| — | 51-231 | Disposable Bag Liners (10 pack) |
| — | 51-227 | Stainless Steel Tank Liner |
| 3 | 51-220 | Gasket |
| 4 | 51-228SS | Tank Lid Assembly |
| 5 | 51-229 | Safety Relief Valve Assembly |
| 6 | 51-234 | Tank Vent Valve |
| 7 | 51-230SS | Material Outlet Valve (Stainless Steel) |
| 8 | 51-280 | Swivel Connection |
| 9 | 52-10A | Fluid Regulator Assembly |
| 10 | 52-11A | Atomizing Air Regulator Assembly |
| 11 | 52-58 | Pressure Gauge |
| 12 | 52-303 | Inline Dual Regulator Assembly |
| 13 | 51-237 | Air Flow Diffuser |
| 14 | 51-236 | Eye Bolt Assembly |
| 15 | 51-224 | Caster (4 Req'd) |
| — | 51-252 | Optional Stationary Feet (4 Req'd) |
| 16 | 51-233 | Pin Assembly |
| 17 | 51-223SS | Fluid Pickup Tube (Stainless Steel) |
| 18 | 51-256 | Inlet Strainer Body |
| 19 | 51-254 | Inlet Screen Backup Plate |
| 20 | 51-248 | Inlet Screen |
| 21 | 51-255 | Inlet Retainer Clip |
| 22 | 51-232 | Inlet Strainer Assembly |
| 23 | 51-225 | Wrench |
| 24 | 51-235SS | Handle |
Note: Some parts shown in the PDF do not have embedded hyperlinks in the manual itself (51-226SS, 51-227, 51-228SS, 51-235SS), so they are listed as plain text above.
Related Pressure Tank Manuals
- 2.5 Gallon Pressure Tank (Single Regulated)
- 2.5 Gallon Pressure Tank (Double Regulated)
- 2.5 Gallon Pressure Tank (Single Regulated, Air Agitated)
- 2.5 Gallon Pressure Tank (Double Regulated, Air Agitated)
- 5 Gallon Pressure Tank (No Agitation)
- 5 Gallon Pressure Tank (Double Regulated, No Agitation)
- 5 Gallon Pressure Tank (Hand Agitated, Single Regulated)
- 5 Gallon Pressure Tank (Hand Agitated, Double Regulated)
- 5 Gallon Pressure Tank (Air Agitated, Single Regulated)
- 5 Gallon Pressure Tank (Air Agitated, Double Regulated)
- 10 Gallon Pressure Tank (No Agitation, Single Regulated)
- 10 Gallon Pressure Tank (No Agitation, Double Regulated)
- 10 Gallon Pressure Tank (Hand Agitated, Single Regulated)
- 10 Gallon Pressure Tank (Hand Agitated, Double Regulated)
- 10 Gallon Pressure Tank (Air Agitated, Single Regulated)
- 10 Gallon Pressure Tank (Air Agitated, Double Regulated)
Need Help Identifying a Part?
If you’re unsure which part you need for your 51-801 / 51-802 tank, contact CET with your model number and item number from the diagram. We’ll help confirm compatibility before you order.
